Опора металлическая консольная МШ-10-100

Любая опора представляет собойконструкцию с коробчатым видом сечения. Основными элементами являются – планка, пояс, диафрагма, пластина с ребрами, которые фиксируются при помощи контактной сварки. Назначение опор – равномерное распределение нагрузок, поступающих от подвешенных кабельных или воздушных линий. Применяются в монтаже энерготрасс. Вся готовая продукция, поступающая на рынок товаров и услуг для дальнейшей реализации, делятся на несколько групп – по способу использованию, назначению, материалу и видам. Изучив заранее данную информацию можно выбрать подходящий вариант для строительных работ.

Виды металлических конструкций

  Опоры электропередач разделяются по группам. По назначению, принимаемой нагрузке:
  • Промежуточные. Предназначены для приема горизонтальной нагрузки, которая появляется по время изменения направления проводов, ветрового давления.
  • Переходные. Идентичны предыдущему варианту. Однако могут противостоять нагрузкам, появляющимся во время отвода проводов на анкеровку.
  • Анкерные. Выдерживают все вышеперечисленные нагрузки, а также дополнительные, возникающие от боковых опор.
  • Фиксирующие. Применяются, в отличие от предыдущих, в качестве дополнительных опор.
Также готовая продукция делится по материалу, используемому во время производства. Могут быть: металлические, железобетонные или деревянные.

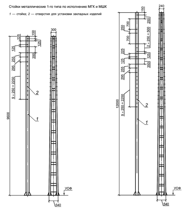
Характеристики консольной опоры МШ-10-100

  Опора металлическая консольная МШ-10-100 имеет следующие характеристики:
  • Маркировка, согласно ГОСТу Р 54270-2010 – МГК1-10-100.
  • Размер L-B/b-h – 9600-540/300-180 мм.
  • Марка стали – С345.
  • Масса – 348кг.
Для более массивных конструкций, рекомендуем опоры МШ-10-80.

Особенности монтажа консольных опор

  Процесс установки металлоконструкций контактной сети осуществляется несколькими способами:
  • Монтаж осуществляется в землю. Металлоконструкции устанавливают на глубину порядка 2-2,5 м, после чего бетонируют.
  • Второй метод – фланцевый. При установке опор на глубине монтируют и бетонируют фундамент. После выполнения всех работ устанавливают надземные элементы, имеющие фланцевые соединения.
  • Еще один способ – консольный. При установке опор на склонах применяется следующий алгоритм: на насыпи монтируется фундамент, затем устанавливают столбы и консоли.
От качества выполненных монтажных работ зависит уровень несущей способности.

Связаться можно любым удобным способом, актуальная информация указана на официальном сайте компании:

1. По телефону:
  • 8(800)551-90-68.
2. По электронной почте:
  • nefteyugansk@zuzmi.ru.
3. В офисе продаж:
  • г. Нефтеюганск,ул. Ленина, д.15, офис 104.
При необходимости можно заказать доставку готовой продукции в любое удобное место и время. Доставка осуществляется не только по территории Нефтеюганска и Ханты-Мансийскому автономному округу, но и по всей России.